任务一 接触网类型的认知(二)
(三)接触网的悬挂类型
a、简单接触悬挂
简单接触悬挂(以下简称简单悬挂)系由一根接触线直接固定在支柱支持装置上的悬挂形式。它在发展中经历了未补偿简单悬挂、季节调整式简单悬挂和目前采用的带补偿装置及弹性吊索式简单悬挂。

未补偿简单悬挂示意图
1-支柱;2-拉线;3-接触线;4-绝缘子串;5-腕臂

带补偿及弹性吊弦简单悬挂示意图
1-接触线;2-弹性吊弦;3-腕臂;4-棒式绝缘子;5-悬式绝缘子;6-拉杆;7-定位器
接触线(或承力索)端头同支柱的连接称为线索的下锚。下锚分两种方法,
一是将线索端头同支柱直接固定连接,称为硬锚或死锚。
另一种是加装补偿装置,以调整线索的弛度和张力。
未加补偿的简单悬挂结构简单,要求支柱高度较低,因此,建设投资低,施工和检修方便。其缺点是导线的张力和弛度随气温的变化较大,导线的弹性不均匀,不利于电力机车高速运行时取流。
整体而言,简单悬挂弹性较差,驰度较大,稳定性不高,我国较少采用这种悬挂。
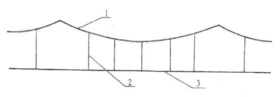
b、链形悬挂
链形悬挂是一种运行性能较好的悬挂形式。它的特点是接触线通过吊弦悬挂在承力索上,承力索通过钩头鞍子或悬吊滑轮悬挂在支持装置的腕臂上。使接触线在不增加支柱的情况下增加了悬挂点,通过调整吊弦长度使接触线在整个跨距内对轨面的高度基本保持一致。减小了接触线在跨距中的弛度,改善了弹性,增加了悬挂重量,提高了稳定性,可以满足电力机车高速运行取流的要求。我国大多数接触网线路均采用链型悬挂类型。
链形悬挂分类方法较多,按悬挂链数的多少可分为单链形、双链形和多链形(又称三链形)。目前我国采用单链形悬挂。

单链形接触悬挂示意图
1-承力索;2-吊弦;3-接触线

弹性链型悬挂现场实物图
双链形悬挂的接触线经短吊弦悬挂在辅助吊索上,辅助吊索又通过吊弦悬挂在承力索上,双链型又叫复链型,以日本新干线为典型代表,我国很少采用。

双链形接触悬挂示意图
1-承力索;2-吊弦;3-辅助吊弦;4-短吊弦;5-接触线
双链形悬挂接触线弛度小,稳定性好,弹性均匀,有利于电力机车高速运行取流。但结构较复杂,投资及维修费用高,我国仅在个别地段试用。

复链型悬挂现场实物图
双链形悬挂及其它悬挂类型由于结构复杂、不易施工、维修困难、设计繁琐、造价高等原因,目前链形悬挂根据线索的锚定方式,即线索两端下锚的方式,又可分为下列几种形式:
1)未补偿简单链形悬挂
这种悬挂方式的承力索和接触线两端无补偿装置,均为硬锚。因此,在温度变化时,承力索和接触线的张力、弛度变化较大,一般不采用。

未补偿简单链形悬挂示意图
1、2-绝缘子串;3-支柱
2)半补偿简单链形悬挂
在半补偿简单链形悬挂中,接触线两端设补偿装置,承力索两端为硬锚。
半补偿简单链形悬挂比未补偿简单链形悬挂在性能上得到了很大改善,但由于承力索为硬锚,当温度变化时,承力索的张力和弛度随之发生变化,对接触线产生一定影响。同时,在温度变化时,承力索的弛度变化使吊弦上端产生上、下位移,而吊弦下端随接触线发生顺线路方向偏斜。由于各吊弦的偏斜,造成接触线各断面受力不均匀,特别是在极限温度下,使接触线在锚段中部和下锚端之间出现较大张力差,接触线张力和弹性不均匀,在支柱悬挂点处产生明显的硬点,不利于电力机车高速运行取流。因此,这种悬挂只用于行车速度不高的车站侧线和支线上。

半补偿简单链形悬挂示意图
1-承力索;2-吊弦;3-接触线;4-补偿器
3)半补偿弹性链形悬挂
半补偿弹性链形悬挂和半补偿简单链形悬挂的区别在于支柱定位点处吊弦形式的不同。
弹性链形悬挂在支柱悬挂点处增设了一根弹性吊弦。弹性吊弦由长15m的辅助绳和一根(或两根)短吊弦构成。安装时,辅助绳两端分别固定在承力索上,短吊弦上端用U形滑动夹板同辅助绳连接,下端与接触线定位器相连,当温度变化时,可避免短吊弦产生过大偏斜。弹性吊弦的作用是增加支柱处接触线固定点(又称定位点)的弹性,使其弹性均匀,有利于机车受电弓取流。这种悬挂方式多用于行车速度不超过100km/h的线路上。

半补偿弹性链形悬挂示意图
1-承力索;2-吊弦;3-接触线;4-弹性吊弦;5-补偿滑轮;6-补偿绳;7-补偿坠砣
4)全补偿链形悬挂
全补偿链形悬挂,即承力索和接触线两端下锚处均装设补偿装置。
全补偿链形悬挂在温度变化时,由于补偿装置的作用,承力索和接触线的张力基本不发生变化,弹性比较均匀,有利于机车高速取流。因此,得到广泛使用。

全补偿链形悬挂示意图(带弹性吊索)


弹性吊弦参数
全补偿链形悬挂也分为全补偿简单链形悬挂和全补偿弹性链形悬挂两种形式。区别这两种悬挂形式的方法同半补偿链形悬挂一样。全补偿简单链形悬挂因支柱定位点处无弹性吊弦,仍会出现硬点,产生弹性不均匀的现象,使用较少。行车速度较高的线路,多采用全补偿弹性链形悬挂。没有得到广泛应用。
链形悬挂按其承力索和接触线在平面上布置的位置,可分为下列几种形式:
a)直链形悬挂
直链形悬挂是承力索和接触线布置在同一垂直平面内,它们在水平面上的投影是一条直线。
直链形悬挂的风稳定性较差,在大风作用下接触线易产生横向摆动,造成接触线与受电弓脱离而发生事故(简称脱弓事故)。目前我国电气化铁道,在曲线区段采用这种悬挂形式,即在支柱定位点处为保证受电弓磨耗均匀,接触线向曲线外侧拉出一定距离,承力索则布置在接触线的正上方。

b)半斜链形悬挂
在半斜链形悬挂中,承力索与接触线不在同一垂直平面内,它们在水平面上的投影有一个较小的偏移。
半斜链形悬挂风稳定性好,施工方便,我国在直线区段采用这种悬挂方式。即直线区段,接触线在每一支柱定位点处,通过定位装置被布置成“之”字形,承力索则布置在线路中心线的正上方。

半斜链形悬挂示意图
1-接触线;2-承力索;3-吊弦
c)斜链形悬挂
斜链形悬挂是指接触线和承力索在水平面上的投影有一个较大的偏移。在直线区段支柱处,接触线和承力索均布置成方向相反“之”字形。

直线上的斜链形悬挂示意图
1-接触线;2-线路中心线;3-承力索;4-吊弦
在曲线区段,承力索对线路中心线向外侧有一个较大的偏移,吊弦的倾斜角较大。这种悬挂的优点是风稳定性最好,可增大两支柱之间的距离(简称跨距),但其结构复杂,设计计算繁琐,施工和检修由难,造价较高,我国很少采用。

