任务一 空气压缩机
认知空气压缩机基本概念与分类形式
熟知活塞式空气压缩机基本结构和作用原理
熟知螺杆式空气压缩机基本结构和作用原理
供风系统是向整个列车提供压缩空气的风源。它不仅针对空气制动系统,而且也为其他用风部件提供风源,例如风动塞拉门、风喇叭(气笛)、受电弓风动控制、车钩操作风动控制设备、空气弹簧及刮雨器等。供风系统制造的压缩空气为用风设备的驱动提供动力,而压缩空气的净化和干燥处理是不可或缺的,其目的是除去压缩空气中所含有的灰尘、杂质、油滴和水分等,保证制动系统及其他用风设备能长时间可靠地工作。为得到清洁、干燥的压缩空气,一般供气系统主要是由空气压缩机组、二次冷却器、空气干燥器、风缸及其他空气管路辅助元件等组成的。
城市轨道车辆采用的空气压缩机要求具有噪声低、振动小、结构紧凑、维护方便、环境实用性强的特点,其直流驱动电机已逐渐被交流电机驱动取代。目前,城市轨道车辆中采用的主要有活塞式空气压缩机和螺杆式空气压缩机两种。
一.活塞式空气压缩机

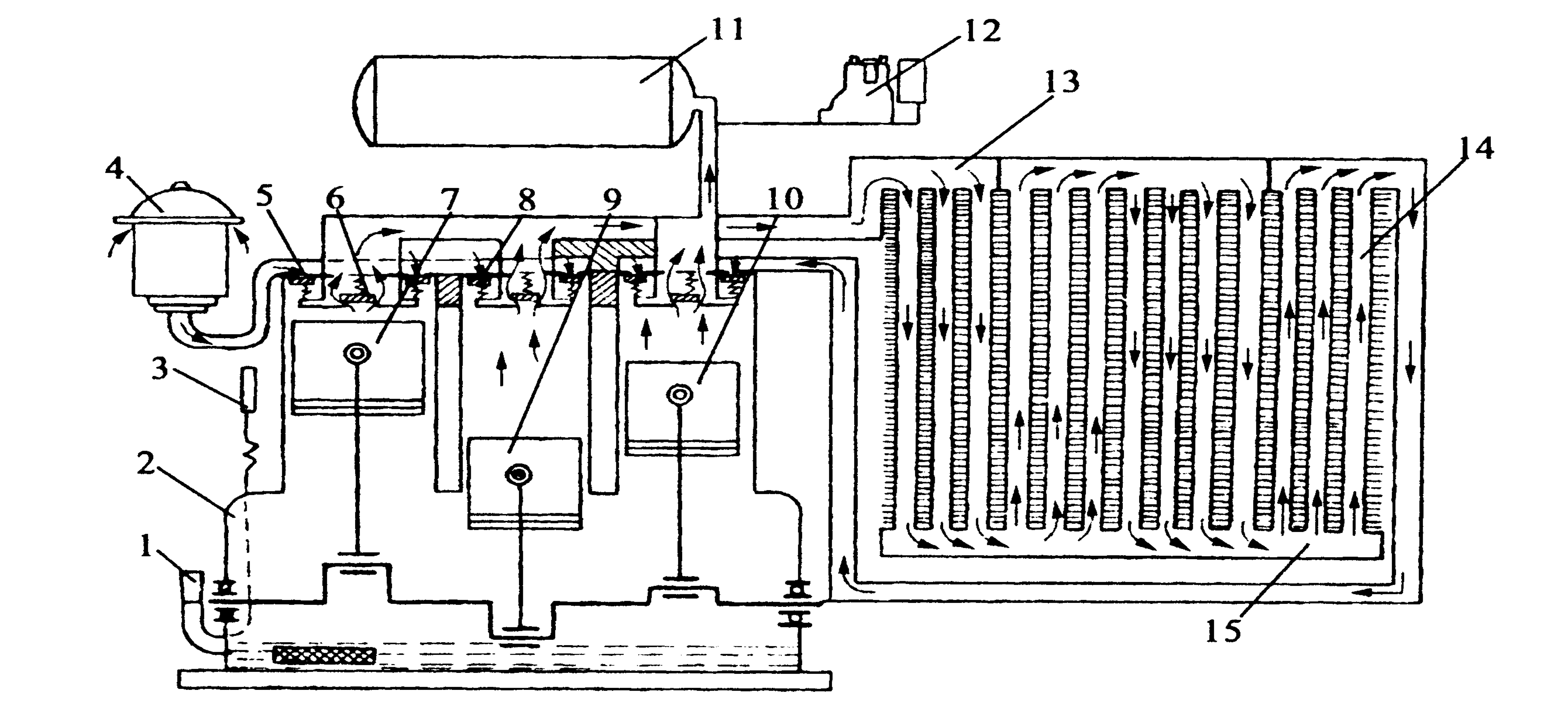
1-润滑油泵;2-机体;3-油压表;4-空气滤清器;5、8-进气阀片;6-排气阀片;7、9-低压活塞;10-高压活塞;11-主风缸;12-压力控制器;13-上集气箱;14-散热管;15-下集气箱。
VV120/150-1型活塞式空气压缩机如图2-5所示。此压缩机为3个缸,其中两个缸为低压缸,一个为高压缸,3个缸呈W形排列,两级压缩带有两个空气冷却器。其排气量为920L/min,输出压力为1000Kpa,转速为1450r/min,由380V、三相、50Hz交流鼠笼式异步电动机驱动,电机与压缩机之间是永久连接,不需要维护,有一个自对中心的法兰连接,这种布置就不需要在电机和压缩机之间有很精确的直线连接。其空气过滤器采用过滤纸过滤,其效果较油浴式过滤器好,但应用成本较高。冷却风扇的叶片不直接安装在曲轴端头,是通过温控液力联合器连接,也称粘性连接。在温度较低时,联轴器内的液体粘度很低,不传递转矩,故可节约能源。该空气压缩机组的一个主要优点是在4.6m距离内噪声的声压级只有64dB(A)。

1-驱动电机;2-进气过滤器;3-呼吸器;4-聚合过滤器;5低压缸;6-低压阀;7-高压缸;8-高压阀;9-冷却进口;10-黏滞风扇;11-扇叶;12,18-弹性装置;13-曲轴;14-曲轴箱;15-油位观测镜;16-中间法兰;17-柔性连轴节;A1-空气出口;A2-空气进口;A3-冷却空气。
二.螺杆式空气压缩机

1-电动机;2-中托架;3-蜗壳;4-护压器;5-冷却器;6-冷却系统;7-机体油气桶部分;8-压力维持阀;9-真空指示器;10-进气阀;11-机头;12-油气桶油过滤器;13-视油镜;14-空气过滤器。

它的主机是双回转轴容积式压缩机,转子为一对互相啮合的螺杆,螺杆具有非对称啮合型面。主动转子为阳螺杆,从动转子为阴螺杆。常用的主副螺杆齿数比依压缩机容量而有所不同,为4:5、4:6、或5:6。两个互相啮合的转子在一个只留有进气口的铸铁壳体里面旋转,螺杆的啮合和螺杆与壳体之间的间隙通过精密加工严格控制,并在工作时向螺杆内喷压缩机油,使间隙被密封,并将两转子的啮合面隔离防止机械接触摩擦。另外,不断喷入的机油与压缩空气混合,用来带走压缩过程所产生的热量,维持螺杆副长期可靠地运转。当螺杆副啮合旋转时,它从进气口吸气,经过压缩从排气口排出,得到具有一定压力的压缩空气。
螺杆副是一对齿数比为4:6以特定螺旋角互相啮合的螺杆。其中阳螺杆(通常作驱动螺杆)为凸形不对称齿,而阴螺杆(常用作从动螺杆)为瘦齿形弯曲齿。两螺杆的齿断面形线是专门设计并经过精密磨削加工的,在啮合过程中两齿间始终保持“零”间隙密贴,形成空气的挤压空腔。

1-螺杆式空气压缩机;2-联轴器;3-冷却风机;4-电动机;5-空、油冷却器(机油冷却单元);6-冷却器(压缩空气后冷单元);7-压力开关;8-进气阀;9-真空指示器;10-空气滤清器;11-油细分离器;12-最小压力维持阀;13-安全阀;14-温度开关;15-视油镜;16-泄油阀;17-温度控制阀;18-油气筒组成;19-机油过滤器;20-逆止阀。
该压缩机的工作过程分为吸气、压缩、排气三个阶段
粤港澳大湾区:新发展格局的战略支点
来源:求是网 作者:是说新语
“勇立潮头”——在二〇二四年新年贺词中,习近平总书记用这个词点赞粤港澳大湾区的建设成就。
推进粤港澳大湾区建设,是习近平总书记亲自谋划、亲自部署、亲自推动的重大国家战略,是我国面向未来国际合作与竞争的战略性举措,承担着为全面深化改革向纵深推进、进一步扩大对外开放探路的时代重任,也是推动“一国两制”事业发展的崭新实践。
粤港澳大湾区建设,习近平总书记始终关心关注,领航掌舵:党的十八大后首次离京考察时指出“希望广东联手港澳打造更具综合竞争力的世界级城市群”;亲自见证《深化粤港澳合作 推进大湾区建设框架协议》签署;将粤港澳大湾区建设写入党的十九大、二十大报告;2018年全国两会期间参加广东代表团审议时指出“要抓住建设粤港澳大湾区重大机遇,携手港澳加快推进相关工作,打造国际一流湾区和世界级城市群”;先后主持召开中共中央政治局常委会会议和中央政治局会议审议《粤港澳大湾区发展规划纲要》。
2019年2月18日,中共中央、国务院公开发布《粤港澳大湾区发展规划纲要》。
“新发展格局的战略支点、高质量发展的示范地、中国式现代化的引领地”——2023年4月习近平总书记到广东考察时,赋予粤港澳大湾区全新定位。
如今,大湾区经济总量超过14万亿元,专利能力位居全球四大湾区之首,成为全球最具前景的增长极之一。
沿着习近平总书记指明的方向,粤港澳大湾区勇立潮头、破浪先行,在南海之滨续写更多激荡人心的“春天故事”。

一桥连三地,天堑变通途。港珠澳大桥跨越伶仃洋,东接香港特别行政区,西接广东省珠海市和澳门特别行政区,总长约55公里,是“一国两制”下粤港澳三地首次合作共建的超大型跨海交通工程。2023年12月15日,港珠澳大桥游开通运营。图为港珠澳大桥东人工岛和西人工岛遥相呼应。新华社记者 刘大伟/摄
一桥连三地,天堑变通途。
伶仃洋上烟波浩渺,港珠澳大桥如同一条巨龙飞腾在湛蓝的大海之上。
2018年10月23日,习近平总书记出席港珠澳大桥开通仪式,宣布大桥正式开通并巡览大桥。在港珠澳大桥东人工岛上,总书记强调,“这是一座圆梦桥、同心桥、自信桥、复兴桥”。
在总书记关心指引下,粤港澳三地“硬联通”和“软联通”水平不断提升,粤港澳民众同心协力共建湾区的共识日益增强,大湾区正成为联通国内国际双循环的战略“交汇点”。
基础设施“硬联通”稳步推进。
“用好管好大桥,为粤港澳大湾区建设发挥重要作用”,“加快粤港澳大湾区城际铁路建设,促进人员、货物等各类要素高效便捷流动”,习近平总书记十分关心粤港澳大湾区的基础设施建设和互联互通状况。
2018年以来,广深港高铁、港珠澳大桥等粤港澳跨境交通基础设施相继建成。目前,粤港澳大湾区内轨道交通逐渐形成“国铁干线、城际铁路、城市轨道交通”三级网络,运营和在建的轨道交通里程超5400公里。
2024年,总投资分别达460亿元、130亿元的深中通道、黄茅海跨海通道均有望建成通车。届时,6条珠江口跨江跨海通道将进一步弥合伶仃洋、狮子洋水域,将珠江口联“湾”成“圈”。
如今,“轨道上的大湾区”基本建成,大湾区“1小时生活圈”加快形成。
2023年12月15日上午,港珠澳大桥旅游试运营在珠海启动。
北上南下“双向奔赴”,人流、资金流、物流相互交织,粤港澳大湾区日益呈现出联通交汇新景象。
自内地与香港恢复通关以来,2023年深港口岸累计超1.6亿人次出入境,日均超40万人次,最高峰突破80万人次。
在横琴粤澳深度合作区,澳门单牌车已是随处可见。2023年,横琴口岸入境人员超过1600万人次,出入境车辆185万辆次,其中澳门单牌车超过100万辆次。
这些数据,是粤港澳大湾区“车畅、人兴、财旺”强劲活力的生动写照。
规则机制“软联通”不断突破。
习近平总书记在深圳经济特区建立40周年庆祝大会上的讲话中强调,要抓住粤港澳大湾区建设重大历史机遇,推动三地经济运行的规则衔接、机制对接。
从教育、医疗、社保等民生领域到跨境金融、合作查验等专业领域,从人才跨境往来、车辆跨境通行、数据跨境流通到政务服务跨境合作……粤港澳三地持续扩大规则衔接、机制对接覆盖面,逐步打通大湾区居民关切的难点堵点,推动经济社会发展各方面实现“软联通”。
以金融市场为例。2021年启动实施“跨境理财通”、债券通“南向通”,2023年实施利率“互换通”,“跨境理财通”2.0版近期落地……大湾区跨境金融产品不断丰富、渠道不断拓展、参与投资者不断增加。截至2023年底,大湾区参与“跨境理财通”试点个人投资者达6.92万人,涉及相关资金跨境汇划金额超128亿元。
通过数据共享、“单向认可”和“双向认可”并行、拓展延伸港澳功能等多种方式,粤港澳三地在不改变现行制度差异的前提下,打造多样化“接口”模式,不断深化衔接对接层次,推动“软联通”取得积极进展。
2023年,粤港澳大湾区启动“数字湾区”建设,发布110项“湾区标准”,108项高频政务服务事项实现粤港跨境通办,“港车北上”、“澳车北上”、“经珠港飞”、人才签注等政策落地实施。
深化规则衔接、机制对接,粤港澳大湾区“制度之异”转为“制度之利”,共谋联动发展的创新机制不断开花结果。
内外循环“交汇点”优势渐显。
2023年4月13日上午在听取广东省委和省政府工作汇报时,习近平总书记明确指出,粤港澳大湾区在全国新发展格局中具有重要战略地位。
位于珠江出海口的大湾区,既是地理意义上的“咸淡水交界处”,也是发展意义上的双循环“交汇点”。
联通国内国际双循环的步伐,从粤港澳三地交往交流交融起步。经过多年建设,大湾区在港澳青年到粤就业创业、事业单位公开招聘港澳居民、港澳居民及随迁子女享受教育资源、“港澳药械通”试点等方面均取得突破,融合发展共建湾区逐渐成为三地民众共识。
目前,超过8万名港澳学生在广东中小学就读,超20万名港澳居民在粤工作发展,港澳居民在粤参加养老、失业、工伤保险累计34.65万人次。
衔接港澳、接轨国际的市场化法治化国际化营商环境正不断完善,标准认证、跨境执业、通关出行等方面的卡点堵点被逐一打通。
2023年12月,国家发展改革委等部委联合发布《关于支持横琴粤澳深度合作区放宽市场准入特别措施的意见》和《关于支持广州南沙放宽市场准入与加强监管体制改革的意见》,推动两个平台在科技创新、服务贸易创新、跨境投融资、特色金融、医药和医疗器械准入等方面,积极推行首创性改革举措。
2024年2月1日,粤港澳三方共同公布第二批粤港澳大湾区共通执行标准。清单在第一批25个领域110项标准基础上新增7个领域73项标准,聚焦粤港澳三地重点民生需求和经济社会发展。
随着“湾区标准”清单和“湾区认证”项目范围不断扩大,大湾区市场一体化水平将逐步提升、营商环境将更为优化,科技、教育、金融、贸易、航运、数据等枢纽功能将更加强大,服务中外企业全球化运营优势将更为凸显。
空气压缩机是供气系统重的”心脏“,作用关键,请大家完成下列小练习巩固所学: