电子课件

学习目标
了解脚手架的种类及其构造和技术要求,掌握脚手架的作用、要求和数量计算以及搭建及安全技术要求。
了解块材和砂浆的材料性能;
掌握砖墙砌体施工要求和混凝土中小型砌块施工要求;
工作任务
工程背景:本工程为新建的教学综合楼,墙砌体与结构主体拉结,砌筑墙体采用MU15烧结页岩标准砖,M10水泥砂浆砌筑。
★ 任务一:按照施工图砌筑填充墙。
工程背景:本工程为一平房,砖混结构,砂浆采用水泥砂浆,砖采用粉煤灰砖。
★ 任务二:按照规范要求砌筑平房承重墙。
任务实施
通过任务教学法组织实施
1.每人一台电脑,接受任务,熟悉工程图纸;
2.每个任务按照“识读图纸→学习规范→模拟施工操作→检查答疑”四步法来组织教学;
3.实施过程中体现以学生为主,教师适当讲解,并进行引导、监督、评估
任务操作过程
1. 填充墙施工工艺流程:放样弹线→拉结筋植筋→砖墙砌筑→勾缝与清理→梁底斜砌砖;
2. 承重墙施工工艺流程:测量放样→立皮数杆→砌筑→勾缝与清理。
知识内容
1.脚手架
2.垂直运输机械
3.砂浆的制备和运输
4.砌体施工
3.1 脚手架


3.1.1 脚手架的作用和种类
脚手架:砌筑过程中堆放材料和进行操作不可缺少的临时设施。
★①由架子工搭设;
★②宽度一般为1.5~2.0m;
★③砌筑用脚手架每步架高1.2~1.4m,装饰用每步架高1.6~1.8 m ;
★④便于装拆、搬运,并能多次周转使用;
★⑤具有足够的强度、刚度和稳定性。
1.脚手架分类
★按支承部位和支承方式划分:落地式、悬挑式、附墙悬挂式、悬吊、附着升降、水平移动脚手架;
★按材料分:木脚手架、竹脚手架、金属脚手架;
★按结构形式分:多立杆式、碗扣式、门式、方塔式、附着式升降、悬吊式;
★按用途分:砌筑用脚手架、装修用脚手架、混凝土工程用脚手架;
★按搭设位置分:外脚手架、里脚手架;
★按设置形式分:单排、双排、多排、满堂、特形脚手架。
落地式

悬挑式

3.1.2 扣件式钢管脚手架
扣件式钢管脚手架——多立杆式外脚手架
特点:杆配件数量少、装卸方便、搭设高度大、坚固耐用、使用方便
组成:立杆、大横杆、小横杆、斜撑、脚手板


3.1.2.1 构造要求
1.钢管
2.扣件

3.脚手板

4.连墙件
连墙件:将立杆与主体结构连接在一起,可用钢管、型钢等。

5.底座

3.1.2.2 扣件式钢管脚手架的搭设要求
搭设顺序
立杆中大横杆步距和小横杆间距要求
拆除
3.1.3 碗扣式钢管脚手架

1.基本构造
(1)碗扣接头
(2)杆配件
2.碗扣式钢管脚手架的搭设要求
3.1.4 门式钢管脚手架
门式钢管脚手架是一种受力性能好,承载力高,施工装拆方便,安全可靠的脚手架,是当今国际上应用最普遍的脚手架之一。它不仅可作为外脚手架,也可作为移动式里脚手架或满堂脚手架,还可用于搭设垂直运输的井字架。
1.构造要求

2.搭设与拆除
3.1.5 满堂脚手架



3.1.6升降式脚手架
升降式脚手架:简称爬架,沿结构外表面满搭的脚手架。
适用范围:高层框架、剪力墙和筒体结构。

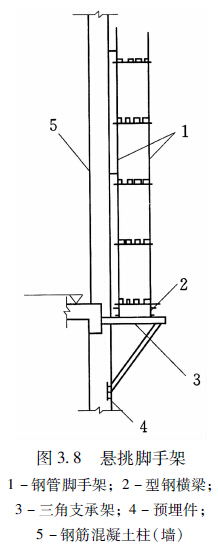
3.1.7 悬挑脚手架
悬挑脚手架:简称挑架,搭设在建筑物外边缘向外伸出的悬挑结构上。
支撑结构形式分类:用型钢焊接制作的三角桁架下撑式结构、用钢丝绳斜拉住水平型钢挑梁的斜拉式结构。
适用范围:高层施工。

3.1.8 外挂脚手架
外挂脚手架:随主体结构逐层向上施工,用塔吊吊升,悬挂在结构上。
适用范围:高层框架和剪力墙结构施工。

3.1.9 里脚手架
1.折叠式
2.支柱式
3.1.10安全网搭设
建筑外墙砌筑高度超过4m或进行立体交叉作业时,必须在脚手架外侧假设安全网,以保证施工安全。
安全网规格一般为宽3m、长6m,网眼边长50mm左右,用直径9mm的麻绳、棕绳或尼龙绳编织而成,能承受不小于1.6kN的冲击荷载。
3.2 垂直运输机械
垂直运输设施-担负垂直输送材料和施工人员上下的机械和设施。
常用的垂直运输设施:塔吊、井字架、龙门架、建筑施工电梯
3.2.1 塔吊
塔吊-重要的吊装设备,重要的垂直运输设备,具有提升、回转、水平移动等功能。

3.2.2 井字架
井字架特点:稳定性好、运输量大,可以搭设较大的高度。

3.2.3 龙门架
龙门架:由两根三角形或矩形截面的立柱及天轮梁构成的门式架。

3.2.4 建筑施工电梯
在高层建筑施工中常采用人货两用的建筑施工电梯,它的吊笼装在井架外侧,沿齿条式轨道升降,附着在外墙或其他建筑物结构上。

3.3 砂浆的制备和运输
种类:水泥砂浆、混合砂浆、石灰砂浆
水泥砂浆:水泥和砂;较高的强度和耐久性,和易性差。适用于潮湿环境和强度要求较高的砌体。
混合砂浆:水泥砂浆中掺入一定数量的掺加料,如石灰膏或粘土膏;具有一定强度和耐久性,且和易性和保水性能好。适用于地面以上强度要求较高的砌体中,不适用基础。
石灰砂浆:强度低且耐久性能差。适用于简易或临时建筑。
3.3.1 砂浆的制备
3.3.1.1 材料要求
1.水泥:水泥进场使用前,应分批对其强度和安定性进行复验。
2.砂:宜用中砂,并应过筛。砂中不得含有草根等杂物。
3.水——饮用水
4.掺加料——石灰膏、黏土膏、电石膏、粉煤灰、石膏改善和易性、节约水泥用量;
5.外加剂——引气剂、早强剂、缓凝剂、防冻剂
3.3.1.2 砂浆的制备
3.3.1.3 砂浆的强度及质量检验
3.3.3 砂浆的运输
砂浆应随拌随用,水泥砂浆和混合砂浆应分别在3h和4h内用完;当施工期间最高气温超过30℃时,应分别在搅拌后2h和3h内用完。
垂直运输机械:塔式起重机、井架、龙门架、施工电梯;
水平运输机械:塔式起重机、双轮手推车、机动翻斗车。
3.4 砌体施工
砌体材料-由块体和砂浆砌筑而成的作为建筑物主要受力构件的结构,是砖砌体、砌块砌体和石砌体结构的统称。
1.砖
2.砌筑砌块
3.砌筑石材
3.4.2砖砌体施工
3.4.2.1 砖墙的组砌形式

3.4.2.2 砌筑工艺:抄平——放线——摆砖样——立皮数杆——盘角和挂准线——砌砖——勾缝、清理
3.4.3 混凝土小砌块砌体施工
1.普通混凝土小型空心砌块
2.轻骨料混凝土小型空心砌块
4.小型砌块施工
3.4.4 加气混凝土砌块
加气混凝土砌块——以水泥、矿渣、砂、石灰等为主要原料,加入发气剂,经搅拌成型、蒸压养护而成的实心砌块。
强度等级:A1、 A2、 A2.5、 A3.5、 A5、 A7.5、 A10
3.4.5 粉煤灰砌块
粉煤灰砌块——以粉煤灰、石灰、石膏和轻集料为原料,通过水搅拌、振动成型、蒸气养护而成的密实砌块。
主要规格:880mm×380mm×240mm ,880mm×430mm×240mm
强度等级:MU10、MU3
项目总结
本项目主要介绍了砌体工程材料、砌体施工的工艺,砌筑用脚手架工程的施工以及建筑工程中通用机械和设施的应用。脚手架工程介绍了脚手架的分类和搭设的基本要求。建筑工程中通用机械和设施的应用对垂直运输机械、安全设施、临时设施进行了全面叙述。砌体材料主要介绍了砌体材料的分类,主要包括块材和砂浆两方面。砌体施工工艺部分主要介绍了砖墙、砌块砌体和石材砌体施工的施工工艺。

