3.5 ABS防抱死系统的单片机的单片机控制
制动系统由ABS和普通的制动系统组成。现在人们所说的ABS,通常单指防抱死电子
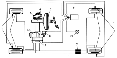
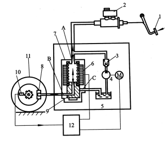
控制系统。电控ABS由传感器、电子控制单元(ECU)和执行机构组成,如图3-28所示。

图3-28防抱死制动系统组成
l-前轮速传感器;2-前齿圈;3-制动总泵;4-储液罐;5-真空助力;6-ABS计算机;7-后轮速传感器;8-后齿圈;9-比例阀;10-ABS警报灯;11-继电器;12-制动压力调节器;13-油泵电动机
ABS的基本工作原理是汽车在制动过程中,车轮转速传感器不断把各个车轮的转速信
号及时输送给ABS电子控制单元(ECU),ABS ECU根据设定的控制逻辑对4个转速传感器输人的信号进行处理和分析,计算出滑移率的大小,并发出控制指令给液压控制单元。在一般的制动情况下,驾驶员踩在制动踏板上的力较小,车轮不会被抱死,ECU无控制信号输出。在紧急制动或是在松滑路面行驶时制动,车轮将要被抱死的情况下,ECU就会输出控制信号,如果某个车轮的滑移率还没达到设定值,ABS ECU就控制液压单元,使该车轮的制动压力增大;如果某个车轮的滑移率接近于设定值时,ABS ECU就控制液压控制单元,使该车轮制动轮缸中的制动压力减小,如此反复输出控制信号,使各个车轮的滑移率保持在理想的范围之内,防止4个车轮完全抱死。
在制动过程中,如果车轮没有抱死趋势,ABS将不参与制动压力控制,此时制动过程与
常规制动系统相同。如果ABS出现故障,电子控制单元将不再对液压单元进行控制,并将
仪表板上的ABS故障警告灯点亮,向驾驶员发出警告信号,此时ABS不起作用,制动过程
将与没有ABS的常规制动系统的工作相同。
小提示:驾驶ABS失效的汽车在湿滑路面上行驶时,要避免紧急制动,应采取点刹车的
方式避免侧滑。
3.5.1轮速传感器
在ABS中,轮速传感器用于检测车轮速度,并将速度信号输人计算机。轮速传感器根
据结构原理不同可分为电磁式轮速传感器和霍尔式轮速传感器两种。
1.电磁式轮速传感器
电磁式轮速传感器由传感头和齿圈两部分组成,如图3-29所示。传感头由永磁体、极轴、感应线圈等组成,如图3-30所示。根据极轴的结构不同,电磁式轮速传感器又可分为凿式极轴轮速传感器、柱式极轴轮速传感器和菱形极轴轮速传感器等形式,其传感头的外形如图3-31所示。传感头直接安装于齿圈的上方,极轴与永磁体2相连,永磁体通过极轴延伸到齿圈并与齿圈构成回路,感应线圈套在极轴外面,齿圈固定在轮毂上随车轮一起转动。齿圈转动时,齿顶和齿隙交替通过极轴。当齿顶正对极轴时,磁路磁阻最小,通过感应线圈的磁通最大当齿隙正对极轴时,磁路磁阻最大,通过感应线圈的磁通最小,这样随齿圈的转动,使通过感应线圈的磁通量交替变化,从而产生感应电动势,并经过感应线圈末端的电缆将此信号输人ABS ECU,感应电动势(电压)信号变化的频率便能精确地反映出车轮速度的变化。

图3-29电磁式轮速传感器
1-传感头;2-齿圈

图3-30车速传感器
1-电缆;2-永磁体;3-外壳;4-传感线圈;5-极轴;6-齿圈
不同结构的极轴,其传感头与齿圈的安装方式也不同,为了防止汽车的振动影响或干扰传感信号,在安装时,传感头与齿圈之间应留有约lmm的间隙,并且安装前应向传感器加注润滑脂且安装要牢固,以避免水、泥或灰尘等对传感器工作产生影响。

图3-31传感头的外形
小提示:在安装或维修ABS时,要注意传感头与齿圈之间的正常间隙,否则会影响ABS
的正常工作。
电磁感应式轮速传感器在使用过程中具有以下特点。
(1)结构简单,成本低。
(2)向ABS计算机输送的电压信号强弱随转速的变化而变化,信号幅值一般在1~15V
的范围内变化。当车速很低时,传感器输出的电压信号若低于IV,则ABS计算机无法检测
到此信号,ABS也就不能正常工作了。
(3)频率响应较低。当车轮转速过高时,传感器的频率响应跟不上,容易产生错误的信号。
(4)抗电磁波干扰能力差,尤其是在输出的信号幅值较小时更为明显。
2.霍尔式轮速传感器
霍尔式轮速传感器由传感头和齿圈组成。传感头由永磁体、霍尔元件和电子电路等组成。
霍尔式轮速传感器工作原理如图3-32所示。永磁体的磁力线穿过霍尔元件通向齿圈,
齿圈相当于一个集磁器。当齿圈位于图3-32(a)所示的位置时,穿过霍尔元件的磁力线分散,磁场相对较弱当齿圈位于图3-32(b)所示的位置时,穿过霍尔元件的磁力线集中,磁场相对较强。随着齿圈的转动,穿过霍尔元件的磁力线密度发生变化,从而产生霍尔电压的变化,霍尔元件输出一个毫伏级的准正弦波电压、此电压信号由电子放大电路放大整型后转换成标
准的脉冲电压信号后输入ABS计算机。

图3-32霍尔式轮速传感器
l-齿圈;2-霍尔元件;3-磁体
霍尔式轮速传感器在使用过程中具有以下特点。
(1)输出的电压信号强弱不随转速的变化而变化,在汽车电源电压为12V的条件下,信
号幅值保持在11.5~12V之间不变,即使车速很低时也不变。
(2)频率响应高,霍尔式盆速传感器可高达20KHz。
(3)输出的电压信号强弱不随转速变化,且幅值高,因此霍尔式轮速传感器抗电磁波干
扰能力强。
3.5.2电控单元(ECU)
1.ABS计算机的功能
电子控制单元是ABS的控制中心,它实际上是一个微型计算机,因此又常称为ABS
(ECU)计算机,其外形如图3-33所示。ABS计算机的功能是连续监测接收4个车轮转速传
感器送来的脉冲信号,并进行测量比较、分析放大和判别处理,计算出车轮转速、车轮减速度以及制动滑移率,以此判断车轮是否抱死及抱死程度,然后向制动压力调节器发出控制指
令。在进行逻辑比较分析4个车轮的制动情况时,一旦判断出车轮将要抱死,它立刻进入防
抱死控制状态,通过电子控制单元向液压单元发出指令,以控制制动轮缸油路上电磁阀的通
断和液压泵的工作来调节制动压力,防止车轮抱死。
图3-33 ABS计算机外形
2.ABS计算机的基本组成
ABS计算机主要由输入计算机、数字控制器、输出电路和警告电路等基本电路组成,如图3-34、图3-35、图3-36所示。
图3-34 A135计算机的基本组成(l)

图3-35 ABS计算机的基本组成(2)
图3-36 ABS计算机的基本组成(3)
(1)输人级电路
输入级电路主要由一个低通滤波器和用以抑制干扰并放大轮速信号的输入放大器组成,其功用是将车速传感器输人的交流信号转换成脉冲方波,经整形放大后输入给运算电路。放大电路的个数与车速传感器的数量是一致的。
(2)运算电路
运算电路即ABS计算机中的微型计算机,其作用是进行车轮转速,车轮加、减速度,滑移率等控制参数的计算,以及电磁阀的开启控制运算和监控运算。当车速传感器脉冲方波信号经输人放大电路传来时,该电路首先计算出车轮的瞬时线速度,然后对瞬时线速度进行积分算出初始速度,再把初速度与瞬时线速度进行比较,得出实际车轮加、减速度和滑移率大小,并与设定的车轮加、减速度门限控制信号及滑移率门限控制信号进行对比,最后对电
磁阀控制单元输出减压、保压或增压控制信号。
(3)输出级电路
输出级电路即电磁阀控制电路,其作用是接收来自运算电路输送来的电磁阀的控制指
令,控制大功率三极管向电磁阀线圈及继电器线圈提供控制电流,以此来控制电磁阀的工作。
(4)安全保护电路
安全保护电路主要包括电源监控电路、稳压电源电路、继电器驱动电路及故障存储电路。
安全保护电路具有以下几点功能。
(1)将汽车电源(蓄电池、发电机)提供的12V或14V的电压变为ECU内部所需的5V 标准稳定电压。
(2)监控电源电路的电压是否稳定在规定的范围内。
(3)监控车速传感器输人放大电路、ECU和输出级电路是否有故障信号。
(4)控制继电器驱动电路,出现故障信号时,关闭继动阀门,停止ABS工作,转入常规制动状态。
(5)将监测到的故障信息以故障码的形式存储在内·存中,同时点亮仪表板上的报警灯,提示驾驶员ABS出现故障,以供诊断时调取。
3.5.3执行机构
ABS的执行机构主要指制动压力调节器,制动压力调节器串联在制动主缸和轮缸之间,其功能是通过电磁阀直接或间接地来自动调节车轮制动器的制动压力。根据制动系统、结
构和工作原理的不同来分,一般有循环式制动压力调节器、可变容积式压力调节器、直接控
制式压力调节器、间接控制式压力调节器等。
1.循环式制动压力调节器
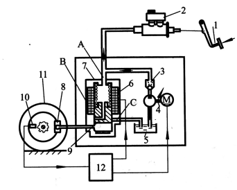
循环式制动压力调节器是指用电磁阀直接控制轮缸制动压力,即在制动总缸与轮缸之间串联一个电磁阀,以此来控制轮缸的制动压力。它主要由电磁阀、液压泵和储液器等组成,如图3-37所示。

图3-37 循环式制动压力调节器的组成
1一液压泵2一轮缸3一电磁阀4一储液罐
(1)结构组成
1) 电磁阀。电磁阀一般为三位三通电磁阀,阀上有3个孔分别通制动主缸、车轮轮缸
和储液器。电磁阀的电磁线圈流过的电流受ECU控制,能使阀处于。升压、保压、减压3种不同的位置,如图3-38所示。
2) 液压泵。液压泵的作用是当电磁阀在。减压。过程中,将制动轮缸流出的制动液经储液器泵回制动主缸。如图3-39所示,液压泵多为柱塞泵,由电动机带动凸轮驱动,泵内有
两个单向阀,上阀为进油阀,下阀为出油阀。柱塞上行时,轮缸及储液器的压力油推开上进
油阀进入泵体内。柱塞下行,进油孔关闭,使泵腔内压力升高,使出油阀打开,将制动液压回制动主缸。
3)储液器也叫储能器,其作用是当电磁阀在“减压”过程中,暂时存储从轮缸流出的制动液,等待液压泵泵回主缸。储能器根据结构不同可分为活塞式和气囊式两种。活塞式储
能器(图3-39)由活塞和弹簧组成,位于电磁阀与液压泵之间,由轮缸流入的压力油进入储能器,作用于活塞上压缩弹簧,使储能器容积变大,以存储制动液。气囊式储能器结构如图3-40所示,在容器中有气囊将容器分隔为两腔,气囊后部充有氮气,上腔与液压泵和电磁阀回油口相连。从轮缸流人的压力油进人气囊上腔,压力油作用在气囊上使气体压缩,上腔容积增大以暂时存储制动液和能量。
图3-38电磁阀结构及工作原理
1-线圈;2-固定铁心;3-柱塞;A-通主缸;B-通轮缸;C-通储液器

图3-39液压泵与储能器
1一凸轮2一油泵柱塞3一油泵4一储能器
(2)工作过程
汽车在制动过程中,ECU控制流经制动压力调节器电磁线圈的电流的大小,使ABS处于“升压”、“保压”和“减压”3种状态,以控制3条通道的连通状态。
1)升压。如图3-41所示,ECU不向电磁线圈供电,阀体在上弹簧的弹力作用下停留在最下端位置,其下端的阀门在弹簧弹力的作用下将通往储能器的通道C封闭,同时上端阀门被打开,制动主缸与轮缸相通,来自制动主缸的压力油从A通道直接进入B通道而流入轮缸,轮缸压力升高。此时,电磁阀处于升压位置。轮缸压力随主缸压力增减,ABS不工作,回油泵也不工作。
2)保压。如图3-42所示,当ECU向电磁线圈通人一个较小的保持电流(约2A)时,在电磁线圈电磁力的作用下,阀体克服上弹簧的弹力上升到中间位置,将上端阀门关闭,而下端阀门在下弹簧的作用下仍保持关闭状态。主缸、轮缸和回油孔相互隔离密封,即A.B.C这3条通道互不相通,轮缸保持一定压力。此时,电磁阀处于保压位置。
3)减压。如图3-43所示,当ECU向电磁线圈通人一个5A的电流时,电磁力将使阀体进一步克服上弹簧弹力而上升到最高位置。此时,上端阀门在下弹簧的作用下仍处于关闭状态,而下阀门则被打开,电磁阀将轮缸与回油通道或液能器接通,即B.C通道连通,轮缸的压力油由B.C通道流入储能器,轮缸压力降低。此时,电磁阀处于减压位置。

图3-40 气囊式储能器
1-动能装置;2-储能器;3-高压软管;4-气囊
图3-41升压过程
l-踏板;2-主缸;3-単向阀;4-泵;5-储液器;6-线圈;7-电磁阀;
8-轮缸;9-柱塞;10-传感器;11-车轮;12-ECU
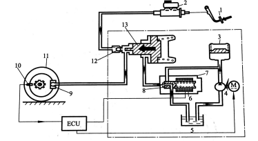
2.可变容积式压力调节器
(1)结构组成
可变容积式压力调节器是在汽车原有制动系统管路上增加一套独立的液压控制装置,用它控制制动管路中容积的增减,从而控制制动压力的变化。可变容积式压力调节器主要由电磁阀、控制活塞、液压泵、储能器等组成,如图3-43所示。
图3-42保压过程
1-踏板;2-主缸;3-单向阀;4-泵;5-储液器;6-线圈;7-电磁阀
8-轮缸;9-柱塞;10-传感器;11-车轮-12-ECU
图3-43减压过程
1一踏板;2一主缸;3一单向阀;4一泵;5-储液器;6一线圈;7一电磁阀
8一轮缸;9一柱塞;10-传感器;11一车轮;12-ECU
(2)工作过程
1)常规制动。ECU不给电磁线圈通电,电磁阀将控制活塞的工作腔与回油管路接通,
控制活塞在强力弹簧的作用下推至最左端。活塞顶端推杆将单向阀打开,使制动主缸与轮
缸的制动管路接通,制动主缸的制动液直接进入轮缸,轮缸压力随主缸压力变化而变化。这
种工作状态是ABS工作之前或工作之后的常规制动工况。
2)减压。如图3-45所示,ECU向电磁线圈通人一个大电流,电磁阀内的柱塞在电磁力作用下克服弹簧弹力移到右边,将储能器与控制活塞工作腔管路接通。储能器(液压泵)的压力油进人控制活塞工作腔推动活塞右移,单向阀关闭,主缸与轮缸之间的通路被切断,同时,由于控制活塞的右移,使轮缸的容积增大,制动压力减小。此时,电磁阀处于减压位置。
3)保压。如图3-46所示,ECU向电磁线圈通人一个较小的电流,由于电磁线圈的电磁力减小,柱塞在弹簧力的作用下左移到将储能器、回油管及控制活塞工作腔管路相互关闭的位置。此时,控制活塞左侧的油压保持一定,控制活塞在油压和强力弹簧的共同作用下保
持在一定位置,而此时单向阀仍处于关闭状态,轮缸的容积也不发生变化,制动压力保持
定。此时,电磁阀处于保压位置。
图3-44可变容积式压力调节器的组成
1-制动踏板;2一制动主缸;3一储能器;4-电动泵;5-储液室;6-电磁线圈;7-电磁阀;
8一柱塞;9一制动轮缸;10-转速传感器;11-车轮;12-单向阀;13-控制活塞
图3-45减压过程
1一制动踏板;2一制动主缸;3-储能器;4-电动泵;5-储液室;6-电磁线圈;7-电磁阀;
8-柱塞;9一制动轮缸;10-转速传感器;11-车轮;2一单向阀;13一控制活塞
4)增压。如图3-47所示,ECU切断电磁线圈中的电流,柱塞回到左端的初始位置,控
制活塞工作腔与回油管路接通,控制活塞左侧控制油压的解除,控制液流回储液器。控制活
塞在强力弹簧的作用下左移,轮缸容积变小,压力升高至初始值。当控制活塞左移至最左端
时,单向阀被打开,轮缸压力将随主缸压力的增大而增大。此时,电磁阀处于增压位置。
图3-46保压过程
l-制动踏板;2-制动主缸;3-储能器;4-电动泵;5-储液室;6-电磁线圈;7-电磁阀
8-柱塞;9-制动轮缸;10-转速传感器;11-车轮;12-单向阀;13-控制活塞
图3-47增压过程
l-制动踏板;2-制动主缸;3一储能器;4-电动泵;5-储液室6一电磁线圈;7一电磁阀
8一柱塞;9-制动轮缸;10一转速传感器;1-车轮;12一单向阀;13-控制活塞
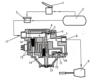
3.直接控制式压力调节器
(1)结构组成
直接控制式压力调节器串联在继动阀或快放阀与车轮制动气室之间,直接控制车轮制动气室的制动压力。它主要由进气阀、排气阀和控制电磁阀等组成,如图3-48所示。进气阀用来控制由继动阀到制动气室的压缩空气通道,排气阀用来控制制动气室的排气通道,而进气阀和排气阀的开关则通过电磁阀控制膜片的背压来实现。各电磁阀均受ABS计算机的控制。
(2)工作过程
1)增压过程。计算机不向电磁线圈通电,各电磁阀处于关闭状态驱动排气阀的电磁阀在初始位置时,排气阀因有控制气压而处于关闭状态;驱动进气阀的电磁阀也在初始位置时,进气阀因无控制气压而处于开启状态。来自继动阀的压缩空气经气室a推开进气阀进人气室b,再经出气口进入车轮制动气室,使制动气室的压力增大。

图3-48直接控制式压力调节器
1-制动总阀;2一储液简;3-继动阀;4-导气室;5-膜片;6-进气阀;7-导气孔;8-出气口;
9-制动室;10-膜片;11-导气室;12-排气阀;13-出口;14-飘动排气阀的电磁阀;15-线圈16-驱动进气阀的电磁阀;17-进气口
2)保压过程。计算机向驱动进气阀的电磁阀线圈通电,使进气阀关闭,而驱动排气阀
的电磁阀线圈不通电,因此排气阀处于关闭状态,这样,来自继动阀的压缩空气不能进人制动气室,同时制动气室内的压缩空气也不能排出,制动气室内的压力保持不变。
3)减压过程。计算机向两个电磁线圈通电,驱动进气阀的电磁阀被电磁力吸到上端位
置,进气阀仍关闭,而驱动排气阀的电磁阀被电磁力吸到上端位置,将其上端阀门关闭,下端阀门打开,排气阀导气室与气室a隔离而与出气口相通,导气室压力下降而使排气阀打开。
制动气室部分压缩空气经气室b、排气阀和出口排人大气,从而使车轮制动气室的压力减小。
4.间接控制式压力调节器
间接控制式压力调节器是在继动网活塞的上部设置两个电磁阀,用来控制辅助管路的
气压,间接控制车轮制动气室的制动压力。它主要由进气阀、排气阀和控制电磁阀等组成,
其组成及工作过程如图3-49所示。
进气电磁阀和排气电磁阀均由ABS计算机控制,进气电磁阀控制继动活塞上方的进气
通道,排气电磁阀控制继动活塞上方的排气通道进气电磁阀打开,可使来自制动总阀的压
缩空气进人继动活塞上方,从而推动继动活塞向下移动I排气电磁阀打开,可使继动活塞上
方的压缩空气排人大气,而使继动活塞向上移动。这样通过控制继动活塞处于不同位置,即
可实现制动气室增压、保持和减压的工作过程。
由于间接控制式压力调节器是通过控制继动活塞上部的气压变化来改变继动活塞的位置,以间接控制制动气室的制动压力的,所以对制动压力控制的反应速度比直接控制式压力调节器要慢。为提高调节器的反应速度,继动活塞上部的控制容积应尽可能小。由于继动
阀通路容积比直接控制式大得多,所以用一个电磁阀可控制多个制动气室。因此,间接控制
式压力调节器成本低,功能较好,更适用于挂车ABS中。

图3-49间接控制式压力调节器
l-接ECU;2一进气电磁阀;3一排气电磁阀;4-通大气;5-继动活塞;6-进气阀
7-接储气简;8-通大气;9-通制动室;10-止回阀;11-接制动总阀
3.5.4 汽车ABS的故障与检修
故障现象:一辆奥迪C4V6轿车(AAH发动机)的ABS失效。
故障检修:首先连接上V.A.G1552,不能进入ABS系统。于是拆下后座椅,准备从ABS电脑
(ABS ECU)处检查故障,结果发现ABS ECU虽然还在,但其插头却被齐刷刷地剪断。原来此车曾肇过事,可能在修理过程中个别部件被人偷去了,而车主还不知道,只是发现ABS不起作用。正常情况下应该更换ABS线束,但是买不到此车的ABS线束,即使能订到,价格也极其昂贵。于是决定,把这段线硬接上。
首先把ABS ECU的各接脚用线焊上,然后按照中国一汽配发的奥迪100C4V6电路图ABS
部分线路,把线一根一根地接上。全部接完之后,还有一根绿/黑线没有位置,又仔细地检查一遍,发现电路图上根本就没有介绍这根线,而这根线不可能是多余的。又查了一下奥迪200C3V6的ABS电路图,原来这根线是诊断线K线,按照奥迪200C3V6的ABS电路图把K
线接到ECU 31脚上,又仔细地检查一遍,确认完全无误后,起动发动机准备试车,ABS灯着车后即来,看来已大获成功。
出去试车,ABS灯却不亮了,而且ABS根本就不工作,与普通制动一样,一遇到冰路就甩尾,
看来是ABS灯线路有故障。以前曾遇到很多车辆故障报警之后,就在仪表上进行改动,因此怀疑本车的ABS灯也被改动了。拆下仪表,果然如此,ABS灯线在线路板上被连到发电机指示灯线路上了。焊掉这段线,装复组合仪表,打开点火开关,这次ABS灯却不亮了。从
仪表插头处测量ABS灯线(T26/13,黄/红),没有电,说明故障还是在仪表上。二次解体组
合仪表,仔细检查线路板,看到上次改线时,将线路板上ABS灯到T26/13插头这段印刷线路强行划断。重新焊上后装车,ABS灯还是不亮。再从组合仪表插头T26/13处测量,有电,说明ABS灯已经有电输出。将插头搭铁,ABS灯即亮,说明组合仪表内已经没有问题了。故障在哪呢?这时想起ABS ECU 29脚没有连接,原来刚才在测量ABS灯线路时,将其掐断,然后就去修理组合仪表了。接上这根线,ABS灯就亮了,断开这根线,ABS灯就灭,说明组合仪表到ABS ECU的ABS灯线路没有故障。
在操作过程中产生一个疑问,以前在检查奥迪轿车ABS故障时,拔下ABS ECU插头后,ABS
指示灯仍然亮,而本车却不亮,看来ABS灯线路还是有故障。原来,ABS灯还通过ABS液压单元上的电磁阀继电器J106搭铁,当ABS检测正常后,该继电器通电,使继电器指示灯触点断开,给电磁阀供电。拔下ABS液压单元插头,在ABS ECU 29脚断开的情况下,测量ABS液压单元插头第7脚(黄/红线)有电,再将其搭铁,ABS灯亮,说明线路没有故障,故障在ABS液压单元上。根据电路图拔下J105继电器,用万用表测量L1到87a脚之间的导通情况,不通,难道是继电器触点有问题?拆下继电器外壳,发现触点完好。又见电路上有一个二极管,测量二极管,也正常。仔细回想操作过程,突然想到ABS电磁阀继电器上还有一个保险丝(当时误以为是电阻,电路图上也没有画出来,只是在继电器壳体上的原理图有标注)。再一次检查继电器,结果保险丝烧坏了,用导线连接上。这回打开点火开关,ABS灯也亮了,接上ABS ECU 29脚线,连接上V.A.G1552,清除故障码后打着车,ABS灯也正常了。
试车,车辆行驶起来后ABS灯又亮了。用V.A.G1552检测,显示故障码为:
①00302 035 SOLENOID VALVE RELAY-ABS-J106(ABS电磁阀继电器J106故障);
②00287 035 SPEED SENSOR REAR RIGHT-G44(右后轮传感器G44故障)。根据故障码提示,检查右后轮传感器插头,接触不良,处理后正常。从ABS ECU插头处检查ABS电磁阀继电器线路,断开ABS ECU 27脚测量,没有电。按照奥迪100C4V6电路图,测量ABS液压单元3脚,也没有电,而ABS ECU l脚有电,难道有断路的地方?顺线查找,一直到ABS ECU处,它接到ECU 15脚上了,而ECU 15脚是发电机D+线,看来这根线接错了。对照奥迪200 C3V6电路图,这根黑/蓝线应该接到ABS ECU l7脚上,接上后再测量ABS液压单元3脚,有电。从ABS ECU处将27脚搭铁,分别测2、18、19、32、35脚,均有电,说明ABS电磁阀继电线路应该没有问题了。
完全接好后,清除故障码,试车。行驶当中ABS灯是不亮了,但是一踩制动踏板,ABS刚一工作ABS灯就亮了。清掉故障码,再试,还是刚一工作ABS灯就报警。用V.A.G1552
检测,显示故障码为:
①00284035 ABS INLET/OUTLET VALVE FRONT RIGHT-N138(右前ABS进/出油阀N138);
②0289 035 ABS INLET/OUTLET VALVE REAR RIGHT-N140(右后进/出油阀N140)。
看来故障不是在ABS ECU上,就是在ABS液压单元到ABSECU之间的线路上。拔下ABS
液压单元插头,断开ABS ECU 2、18、19、32、35脚,分别检查这几根线是否互相短路,
结果显示有短路的地方。)
顺线查找,发现ABS线束在发动机舱前隔板处曾被烧过,当时只是用胶布将烧过的部分重新缠绕了一下,没有进行处理。于是扒开被烧线束的外皮,
看到有许多线粘连在一起,造成线路互相短路,ABS回油泵V39有时自动工作的原因也找到了。处理完线束后,试车,ABS系统完全正常。
说明:奥迪100 C4V6和奥迪200 C3V6的ABS电路图,其差别就在ABS液压单元3脚的供电方式上。奥迪200 ABS是由ABS ECU 17脚供电,奥迪100ABS是由ABS组合继电器供电或直接由保险丝供电。有的奥迪100 C4V6有诊断K线,有的没有诊断K线。
小结
本章主要介绍汽车的ABS系统和其他的车身辅助防护系统的知识。
本章重点介绍了ABS刹车防抱死系统和及汽车安全气囊。
安全气囊系统的类型 按其总体结构可分为机械式SRS和电子式SRS两大类。
按气囊数量可分为单SRS.双SRS和多SRS。
安全气囊系统主要由传感器、电控单元(ECU)、气囊组件、安全气囊警告灯等组成。
安全气囊传感器按结构形式不同又可分为机械式、机电式和电子式3种。
制动系统由ABS和普通的制动系统组成。现在人们所说的ABS,通常单指防抱死电子
控制系统。电控ABS由传感器、电子控制单元(ECU)和执行机构组成。
ABS电控系统的控制原理,各传感器的工作方式。
根据制动系统、结构和工作原理的不同来分,一般有循环式制动压力调节器、可变容积式压力调节器、直接控制式压力调节器、间接控制式压力调节器等。
汽车防盗系统的类型、分类等。
习题3
1.安全气囊系统由哪些部分组成。
2.螺旋电缆的作用是什么?
3.汽车电子防盗系统有什么作用?一般它是怎样工作的?
4.ABS是如何调节制动力大小的?
5.照图叙述ABS的工作过程。
6.车轮转速传感器若损坏了,会产生哪些影响?

