水利工程图表达 Expression of Hydraulic Engineering Drawing
一、水工图的基本表达方法 Basic expressions of hydraulic drawings
1、视图的名称和作用 The name and role of the view
(1)平面图 Plan
俯视图也称平面图。常见的平面图有表达单个建筑物的单体平面图和表达一组建筑物相互位置关系的总平面图。
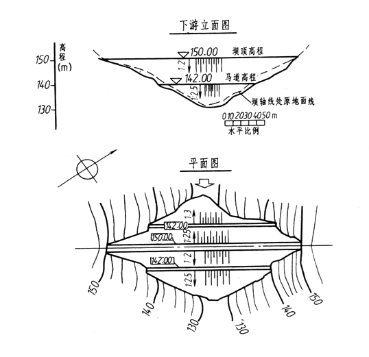
(2)立面图 Elevation
正视图、左视图、右视图、后视图等称为立面图。人站在上游(下游),面向建筑物作投射,所得的视图称为上游(下游)立面图。

图11-5 下游立面图和平面图
(3)剖视图 Section View
沿建筑物长度方向中心线剖切的全剖视图配置在正视图的位置,称为该建筑物的剖视图。
(4)断面图 Cross Section
表达建筑物组成部分的断面形状及建筑材料。
(5)详图 Detail Drawing
当水工建筑物的局部结构由于图形太小而表达不清楚(包括无法标注尺寸)时,可将物体的部分结构用大于原图所采用的比例画出,这种图形常称为详图或局部放大图。详图可以画成视图、剖视图、剖面图等。

图11-6 土石坝节点详图
当采用符号标注时,可在被放大部分用细实线画出圆圈(圆圈直径视需要而定),并用索引符号标注局部放大图的编号(分子)和放大图所在图纸的编号(分母).如详图和被放大的图样在同一张图纸上,则在下半圆画一水平线。
注:索引符号中的圆圈直径一般为10mm左右,圆内过圆心画一条水平线;引出线的延长线应通过圆心。
当在被放大部分作出索引符号时,在详图的下方也应注出对应的详图符号,详图符号用一粗实线圆绘制,直径约为14mm。在圆的右边用比详图编号小一号的字注出详图的比例。
用文字注写详图时,被放大的部分可不作任何标注,如上图中的详图1可注写为“上游坝脚放大图”,这时原图可不作任何标注。
2、视图的配置 Configuration of views
(1)应尽可能地将一建筑物的各视图按投影关系配置。若有困难时,可将视图配置在适当位置。对较大或较复杂的建筑物,如受图幅限制,也可将某一视图单独画在一张图纸上。
(2)平面图是较为重要的视图,应布置在图纸的显著位置。一般按投影位置配置在正视图的下方,必要时也可以布置在正视图的上方。
(3)水工图中,各视图应标注名称,一般注在图形的上方或下方的中部位置,习惯上在图名的下边画一条粗实线。
3、规定画法和习惯方法Prescribes the method of drawing and the customary method
(1)展开画法:假想将倾斜部分展开到与正立面平行后,再画出视图,这种视图称为展开视图。在图名后应注明“展开”二字 。

图11-7 展开图
(2)省略画法:当图形对称时,可以只画对称的一半,但须在对称线上加注对称符号。
(3)简化画法:对图中的一些细小结构,当其有规律分布时,可以采用简化绘制,即只须画出其中几个,其余用中心线或轴线表示其位置,如消力池中的排水孔。

图11-8 简化画法
当图形较小致使某些细部结构无法在图中表示清楚,或一些成品的附属设备另有专门图纸表示时,可以在图中相应部位画出示意图,常用的一些示意图例如右表所示。
表11-1 简化图例表

(4)拆卸画法:当所要表达的结构被其它部件或附属设备遮挡时,可假想将后者拆去,然后再绘制剖视图,这种画法称为拆卸画法。

图11-9 拆卸画法
(5)合成视图:对称或基本对称的图形,可将两个相反方向的视图或剖视图、剖面图各画对称的一半,并以对称线为界,合成一个图形,称为合成视图。

图11-10 合成视图
(6)连接画法:当结构物比较长而又必须画出全长时,由于图纸幅面的限制,可采用连接表示法。将图形分成两段绘制,并用连接符号和标注相同字母的方法表示图形的连接关系。

图11-11 连接画法

