1
心电图学
1.6.1.2.2 第二节 心肌细胞及其电活动类型

第二节 心肌细胞及其电活动类型

一、心肌细胞

(一)心肌细胞的类型 根据心肌细胞的组织学特点、电生理特性的不同,可将其分为工作细胞和自律细胞。根据心肌细胞生物电活动特征,特别是动作电位“0”时相除极化速度的不同及自律性的有无,可分为快反应自律细胞、快反应非自律细胞、慢反应自律细胞和慢反应非自律细胞。另外,根据解剖、组织学特点、生理特性及功能区别等,可综合分为六大类。

1.根据组织学特点、电生理特性及其功能分类

(1)工作细胞 包括心房肌和心室肌的肌细胞,它们含有丰富的肌原纤维,具有收缩性、兴奋性和传导性,但无自律性。

(2)自律细胞 是指组成心脏特殊传导系统的特殊分化的心肌细胞(结区例外),其中主要是P细胞和浦肯野细胞,具有自律性、兴奋性和传导性,但无收缩性。

2.根据生物电活动类型分类

(1)快反应自律细胞 包括心房传导组织、房室束、束支和末梢浦肯野纤维网的自律细胞。

(2)快反应非自律细胞 包括心房肌和心室肌的肌细胞。

(3)慢反应自律细胞 包括窦房结自律细胞、房结区和结希区的自律细胞。

(4)慢反应非自律细胞 即结区细胞。

3.综合分类

(1)优先起搏细胞 正常生理情况下,能自动产生节律性兴奋,基本上无收缩功能。很多优先起搏细胞相互连接构成了优先起搏点。此种细胞呈蜘蛛状,有多个分支,表面没有横纹,仅分布在窦房结中。

(2)潜在起搏细胞 这种细胞也有自律性,但节律较慢,主要生理功能是将冲动从优先起搏细胞传出,同时也有潜在的起搏作用。潜在起搏细胞分布在优先起搏细胞外围,同时也存在于窦房结以外的组织,如右心房、冠状窦、三尖瓣、房室结等。

(3)过渡型细胞 这类细胞介于潜在起搏细胞和心房肌细胞之间,形态上近似心房肌细胞,但具有”4”时相自动除极的特性,只是不能诱发动作电位,故在正常生理情况下没有自律性。它的主要功能是将兴奋从窦房结传至心房。

(4)心房肌细胞 形态多样,大小不一,具有明显的纹,有收缩功能,无自律性。此外,心房内除心房肌细胞外,还存在潜在起搏细胞和过渡细胞。

(5)心室肌细胞 形态规则,大小相关不大,有收缩功能,无自律性。

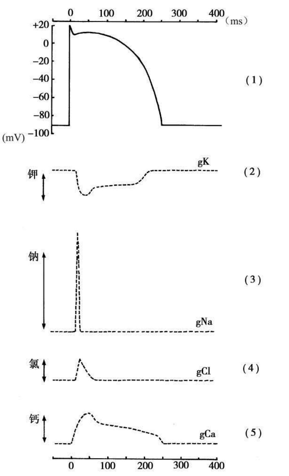
(6)浦肯野细胞 形态呈梭形,体积很大,仅分布于心室特殊传导系统的浦氏纤维网中。其动作电位与心室肌细胞相似,但因出现”4”时相自动除极而具有自律性(图2-3)。

img33

图2-3 浦肯野细胞产生动作电位时离子电导的变化

(1)典型动作电位;(2)、(3)、(4)、(5)相应的离子电导变化,gNa和gCa的增加促进内向电流,而gK或gCl的增加促进外向电流

(二)心肌细胞膜上的离子通道 目前,已发现心肌细胞膜上有10种以上的离子通道,主要有钠通道、氯通道、钾通道、钙通道、T型钙通道、X通道等。

1.钠通道(g1Na) 分为快钠及慢钠通道两类,后者又称慢钙通道或慢通道。两者可分别被河豚毒素、维拉帕米所阻滞。

(1)快钠通道(fastgNa) 其激活受电压控制,故为电压依从性。有通路(on或h)及断路(off或m)两道闸门。在静息状态下,通路闸门开放,断路闸门关闭。当细胞受到刺激后,断路闸门开放,通路闸门通畅,Na+内流,膜电位升高,开始除极。当膜电位由-90mV上升至阈电位水平(-70~-60mV)时,断路闸门完全开放,形成“0”时相快速Na+内流,膜电位急剧上升。在此过程中氯通道开放,产生外向电流,抵消了一部分iNa+。当膜电位上升至+20~+30mV后,为Cl内流引起的外向电流所代替,产生首次复极。当膜电位下降至“0”时,Cl内流停止,快钠通道的断路闸门仍开放而通路闸门关闭,快钠内流停止。慢通道及第1钾道从除极化开始都在开放,慢内向电流(isi)及第一钾道路外向电流(iK1)大致相等,形成平台期,再往后iK1占优势,产生二次复极。二次复极时,断路闸门关闭而通路闸门渐渐开放,呈恢复静息状态。从除极开始至通路闸门完全关闭,称为绝对不应期。当二次复极(“3”时相)电位下降至-50~-55mV以下,快钠通道开始有反应能力,从此点到“3”时相完毕,称为相对不应期,因此快钠通道再反应的恢复是时间依从性的(图2-4)。

img34

图2-4 快钠通道M、b闸门开放及关闭

(2)慢钠通道(slow gNa) 该通道为Na+、Ca2+及Mg2+金属离子的共同通道,可导致慢内向电流(isi)。由于细胞内外Ca2+的浓度差很大,此通道主要由Ca2+所占用,故常称为慢钙通道或慢通道。近年来通过对慢通道的大量研究表明,其有如下特性:①从一个细胞的总体而言(不是单个离子通道),其激活、失活与复活所需时间均长于快钠通道,其离子电流isi;②离子选择性不如快Na+通道专一,主要通透Ca2+,对Na+、Mg2+等离子也有一定通透性;③是电压依从性通道,其阈电位水平约为-35mV,所以该通道在“0”时相已开始激活开放,但由于其激活速度慢,Ca2+内流也慢,形成“0”时相除极化的成分不大,要到“1”时相才充分表现出其作用;④可被锰和硝苯吡啶类所阻断;⑤慢通道的状态还受到受体的调节,儿茶酚胺与肾上腺素能β1受体作用剂,可促使其激活。据认为这一作用是通过激活细胞膜上的腺苷环化酶,使膜内ATP转化为CAMP,激活CAMP依从性蛋白激酶,使通道蛋白磷酶化,使较多的钙通道处于电活动性备用状态。当电激活时可开放的钙通道数增多,Ca2+电流增大。慢通道激活与Ca2+内流具有重要的生理意义,它不仅是心室肌等快反应细胞形成动作电位平台期的主要离子基础和使整个动作电位持续长时间的主要原因,而且内流的Ca2+可触发工作肌细胞肌质网内贮存Ca2+的释放,使肌浆Ca2+浓度升高,从而引发肌肉收缩。所以Ca2+流是心肌兴奋—收缩耦联不可缺少的物质,同时还是窦房结和房室结等慢反应细胞“0”时相除极化的离子基础。窦房结及房室结只有慢通道,称为慢反应组织;希氏束、浦肯野纤维及收缩肌细胞兼有快、慢两种通道,称为快反应组织。

2.氯通道(gCl) 为电位依从性通道,在“0”时相动作电位至-10mV时开放。由于细胞外Cl的浓度比细胞内高8倍,故引起Cl内流,形成外向电流(Cl),抵消了一部分快钠内向电流。在“0”时相顶峰时(+20~-30mV),快Na+内向电流已接近停止,Cl内流引起的外向电流开始占优势,引起动作电位下降,形成首次复极,当降至“0”电位时,Cl停止,此为动作电位“1”时相期。

3.钾通道(gK) gK分为第1钾通道(gK1)和第2钾通道(gK2),分别导致外向电流iK1和iK2。

(1)第1钾通道(gK1)gK1在整个收缩期都开放,产生K+外向电流(iK1)。在平台期此电流与Ca2+内流大致相等,但随时间推移,iK1逐渐增大,致使平台后半期稍微向下倾斜。尔后随膜电位愈下降,iK1愈来愈大,使动作电位迅速下降,发生二次复极,直至达静息电位而停止,形成动作电位“3”时相。因此gK1即有时间依从性,亦有电位依从性。

(2)第2钾通道(gK2)gK2只存在于窦房结、房室结及浦肯野纤维起搏细胞。开放时可导致K+外向电流。gK2只在舒张期开放,产生舒张期K2+外向电流(iK2)。iK2是心肌细胞自律性的心电基础,可引起心肌自律细胞的舒张期除极,故称为起搏电流(pace current)。gk2开放是随着舒张期的进展而电流变小,故有时间依从性,待引起除极化时即停止,所以它的失活是电压依从性的。

4.X通道(gX) 代表某些稀有阳离子的外流(iX)通道。这些通道主要在动作电位”2”时相及”3”时相开放,有时间依从性。当膜电位向静息电位恢复(“3”时相),iX减小,故是电压依从性。iX分为iX1及iX2,iX1为早期的快速成分,iX2为后期慢流成分。

5.T型钙通道(IcaCT) 随着膜电位的上升,T型钙通道被激活产生T型钙电流,参与优先起搏细胞“4”时相自动除极化的末期。

二、心肌细胞的电活动类型

根据心肌细胞的电活动特性,分为快反应细胞(纤维)和慢反应细胞(纤维)。

(一)快反应细胞(纤维)与快反应电位 前已述及,心房、心室的普通肌细胞,以及结间束、房室束、房室束支和浦肯野纤维,在电生理特性上,其动作电位“0”时相的上升速度较高,因而能以每秒0.5~5m的速度传递激动,这些肌细胞(纤维)称为心脏的快反应细胞(纤维),其动作电位呈快速除极化,称快反应电位。在正常情况下,快反应细胞有如下共同的电生理特点:

1.静息电位较大,均在-80~-90mV之间;

2.阈电位相仿,在-60~-70mV水平;

3.动作电位“0”时相上升速率较高,如浦肯野纤维可高达1000 V/s,且有明显的超射现象;

4.动作电位的振幅较大,膜电位可由-80~-90mV迅速上升至+25~+35mV;

5.激动的传导速度快,每秒0.5~5.0m,且易向邻近细胞传布,一般不易受阻,故传导安全度较高;

6.兴奋性和传导性的恢复较快,在复极尚未完全结束之前即可恢复。

快反应细胞包括快电流和慢电流两个成分,其快反应电位取决于这些心肌细胞膜上存在着快钠通道。当该通道被激活时,大量的Na+快速流入细胞内,使细胞内电位骤然由负变正,引起动作电位“0”时相快速除极化。在心肌细胞快速除极化后,在膜电位恢复到-55mV以前,快反应细胞的另一慢通道被激活,使Ca2+缓慢内流,是形成动作电位“2”时相平台的重要因素。

快反应细胞包括房间束、结间束及房室束、束支、浦氏肯野纤维、心房、心室肌细胞。心房、心室肌的“0”时相最大上升速度为200~400V/s,传导速度为50~100cm/s;房间束、结间束及房室束、束支、浦肯野纤维动作电位的“0”~“3”时相与心肌收缩细胞相同,但其“4”时相有舒张期除极,故有自律性。

(二)慢反应细胞(纤维)及慢反应电位 窦房结、房室结、房室环、二尖瓣和三尖瓣的瓣叶,其动作电位“0”时相的上叶速率较低,以每秒0.01~0.1m的缓慢速度传导激动,称为慢反应细胞(纤维),其动作电位称为慢反应电位。心肌慢反应细胞与快反应性细胞电生理特性不同(表2-2),其主要为:

1.静息电位较低,在-60~-70mV水平;

2.阈电位为-30~-40mV;

3.动作电位“0”时相上升速率较低(<13V/s),幅度为40~60mV,超射不明显;

4.动作电位的幅度较低,膜电位仅可升至0~15mV;

5.传导速度慢,只有5cm/s,易发生传导阻滞,安全度较低,易致心律失常;

6.兴奋性和传导性的完全恢复很慢,要在复极结束后稍长时间方能出现(图2-5)。

img35

图2-5 快速反应和缓慢反应细胞兴奋性的恢复

阴影区域代表除极后的不应期,从(1)图可以看出,当细胞复极至-60mV时阈上刺激可激发出又一个动作电位;相反,从(2)图可以看出其不应期较(1)图明显延长,直到已到达最大舒张期电位后很长时间,方能激发出另一个动作电位

慢反应细胞电生理特性不同于快反应细胞的原因,是由于二者除极时相的离子活动基础不同。慢反应细胞膜上只有慢通道,其“0”时相除极化是由于缓慢的Ca2+内流造成的。

需要指出的是,慢反应电位并不仅见于慢反应细胞,在某些病理情况下,如缺血、缺氧(包括心肌梗死)、电解质紊乱、洋地黄中毒等,快反应细胞的细胞膜功能受到影响,不能保持其正常的静息膜电位水平;当膜电位的负值仅能达到-60mV或以下时,快通道失活,而慢通道仍可被激活,这时原来的快反应细胞实际上变为慢反应细胞,快反应电位变为慢反应电位,因而自律性增强,传导功能降低,易发生折返现象,成为心律失常的一个重要因素。

表2-2 快、慢反应细胞的差别

img36

三、自律心肌细胞膜电位及其形成机制

前已述及,心肌自律细胞有窦房结、房内束、结间束、房室交界区、希氏束和浦肯野纤维,在这些自律细胞中,当动作电位“3”时相复极未达最大值(称最大复极电位,其数值相当于同类细胞的静息电位)后,“4”时相的膜电位并不稳定于这一水平,而是开始自动除极,当除极达阈电位后便引起兴奋,出现另一个动作电位。这种现象周而复始,动作电位就不断产生,所以“4”时相自动除极是自律细胞产生自动节律的基础。不同类型的自律心肌细胞,“4”时相自动除极的速度不同,离子电流也不完全相同。本节以浦肯野细胞和窦房结细胞为代表介绍其膜电位及其形成机制。

(一)浦肯野细胞浦肯野细胞 是快反应自律细胞,其最大复极电位为-85~-90mV,形成的机制同心室肌细胞的静息电位,其动作电位的“0”、“1”、“2”、“3”时相的波形与产生的离子基础均与心室肌细胞相似,不同的是“4”时相膜电位是不稳定的,而呈现自动除极化过程。对浦肯野细胞“4”时相自动除极化形成机制的认识,在60年代根据应用电压固定技术的研究,原以为是由于“4”时相中K+外向电流所致。Noble等(1968)称这一逐渐减少的K+电流为iK2,也称起搏电流。但近年来Difrancesco(1981)发现浦肯野细胞“4”时相自动除极化与一种Na+内向电流不断增强有关,并称这种Na+内向电流为Na+内向起搏电流(If);同时证明Neble等所提出的iK2是实验伪差,并非一种离子电流。If与Na+内向电流不同,它在浦肯野细胞动作电位复极到-60mV时左开始激活,激活程度随复极化的进行而增大,至-100mV时充分激活,由于If逐渐增大,使“4”时相中膜逐步除极化,当达到阈电位时,便产生一个自动兴奋。

(二)窦房结优先起搏细胞的膜电位及其形成机制 窦房结优先起搏细胞是一种慢反应自律细胞,其动作电位复极后,出现明显的“4”时相自动除极化,但它的跨膜电位不同于浦肯野细胞。窦房结优先起搏细胞的最大复极电位主要是由K+外流形成,其值为-70mV,与K+平衡电位有一定差距,其原因可能是慢反应细胞膜对其他离子的通透性比快反应细胞更大一些之故。由于窦房结细胞的最大复极电位绝对值较小,故其动作电位和电生理特性与快反应细胞有很大差别(表2-3)。

表2-3 窦房结细胞和浦肯野细胞电生理特性比较

img37

窦房结优先起搏细胞“4”时相自动除极的离子机制较复杂,K+外流进行行衰减是其“4”时相自动除极的重要离子基础,此外If内向离子流和非特异性缓慢内向电流(Isi-2)均参与作用。Isi-2可能是生电性Na+-Ca2+交换的结果。

窦房结的动作电位分为除极化“0”时相和复极化“3”时相和“4”时相,而无“1”时相和“2”时相。当膜电位由最大复极电位自动除极达阈电位水平时,便激活膜上的Ca2+通道,引起Ca2+内流(ICa),导致“0”期除极,由于Ca2+通道激活和失活缓慢,Ca2+内流也缓慢且持续时间长,故“0”期除极速度和持续时间较快反应动作电位缓慢而持久,因此窦房结细胞及具有类似特性的心肌细胞称慢反应细胞。因其具有自律性,故又称慢反应自律细胞,其动作电位称慢反应电位。复极化“3”期形成的机制是Ca2+通道逐渐失活,Ca2+内流相应减少,同时存在K+通道激活,K+外流逐渐增加,膜便逐渐复极化。